注册Register
登录
论坛
搜索
帮助
导航
网站
私人消息 (0)
公共消息 (0)
系统消息 (0)
好友消息 (0)
帖子消息 (0)
XGecu Programmer Forums
»
Logic Test--Thank users for enthusiastic sharing
» New&Correct Logic Tests (4016,4028,4543,7453,7460 & Other)
返回列表
发帖
发短消息
加为好友
Victor87
UID
997
帖子
4
精华
0
积分
10
阅读权限
10
在线时间
5 小时
注册时间
2022-10-30
最后登录
2023-7-23
新手上路
1
#
跳转到
»
倒序看帖
打印
字体大小:
t
T
Victor87
发表于 2023-7-24 00:15
|
只看该作者
New&Correct Logic Tests (4016,4028,4543,7453,7460 & Other)
new
,
logic
,
test
Share my new logic tests:
1) 4016 (К176КТ1), test in programmer is false (when "Control=0" pin 5,6,12,13 -> In/Out = Z (OC))
下载
(35.81 KB)
2023-7-23 23:19
下载
(42.92 KB)
2023-7-23 23:19
下载
(46.12 KB)
2023-7-23 23:26
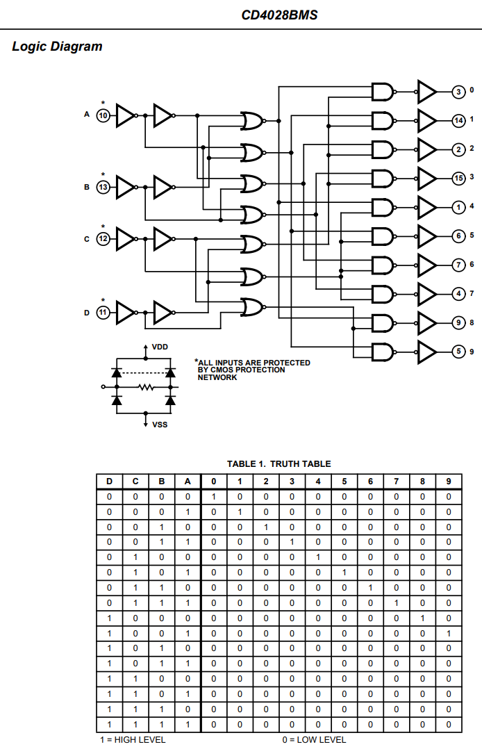
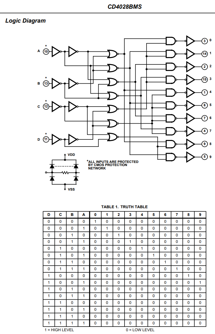
2) 4028 (К561ИД1) error in a prog.test, "line 3"="line 1"
下载
(36.36 KB)
2023-7-23 23:37
下载
(42.11 KB)
2023-7-23 23:37
下载
(116.8 KB)
2023-7-23 23:37
3) 4543 (К176ИД2),
more complete test
下载
(47.57 KB)
2023-7-23 23:53
下载
(155.08 KB)
2023-7-23 23:53
4)7453 (К155ЛР3)
下载
(49.47 KB)
2023-7-23 23:55
下载
(18.8 KB)
2023-7-23 23:55
5) 7460 (К155ЛД1) Correct test
下载
(45.53 KB)
2023-7-23 23:58
下载
(20.96 KB)
2023-7-23 23:58
6) 7485 Full test
下载
(48.81 KB)
2023-7-23 23:59
7) 74184 (К155ПР6)
下载
(46.02 KB)
2023-7-24 00:02
下载
(177.96 KB)
2023-7-24 00:02
8) 74192 (К155ИЕ6) Full test
下载
(45.17 KB)
2023-7-24 00:05
9) 75452 (К155ЛА18)
下载
(35.33 KB)
2023-7-24 00:07
下载
(67.56 KB)
2023-7-24 00:07
10)
and a few more
4016 (K176KT1).lgc
(2.15 KB)
下载次数: 10534
2023-7-24 00:12
4028 (K561ID1).lgc
(2.29 KB)
下载次数: 10932
2023-7-24 00:12
4543 (K176ID2).lgc
(2.46 KB)
下载次数: 10172
2023-7-24 00:12
7453 (K155LR3).lgc
(2.36 KB)
下载次数: 10542
2023-7-24 00:12
7460 (К155ЛД1).lgc
(2.2 KB)
下载次数: 11113
2023-7-24 00:12
74192 (K155IE6).lgc
(2.76 KB)
下载次数: 10831
2023-7-24 00:12
7485.lgc
(2.53 KB)
下载次数: 10894
2023-7-24 00:12
75452 (K155LA18).lgc
(2.15 KB)
下载次数: 10746
2023-7-24 00:12
АОД133А.lgc
(2.18 KB)
下载次数: 10963
2023-7-24 00:12
АОТ101.lgc
(2.22 KB)
下载次数: 11204
2023-7-24 00:12
АОТ110А.lgc
(2.18 KB)
下载次数: 10886
2023-7-24 00:12
К155ИЕ1.lgc
(2.88 KB)
下载次数: 11122
2023-7-24 00:12
К155ЛД3.lgc
(14.06 KB)
下载次数: 10705
2023-7-24 00:12
TIL118.lgc
(2.18 KB)
下载次数: 10450
2023-7-24 00:12
收藏
分享
发短消息
加为好友
admin
(王鑫)
UID
1
帖子
943
精华
1
积分
3947
阅读权限
200
在线时间
508 小时
注册时间
2020-3-7
最后登录
2025-3-15
管理员
2
#
admin
发表于 2023-7-24 17:18
|
只看该作者
回复
1#
Victor87
Thank you for sharing.
TOP
返回列表
回复
发帖
[收藏此主题]
[关注此主题的新回复]
[通过 QQ、MSN 分享给朋友]